NC machine reamer

  • Product image NC machine reamer
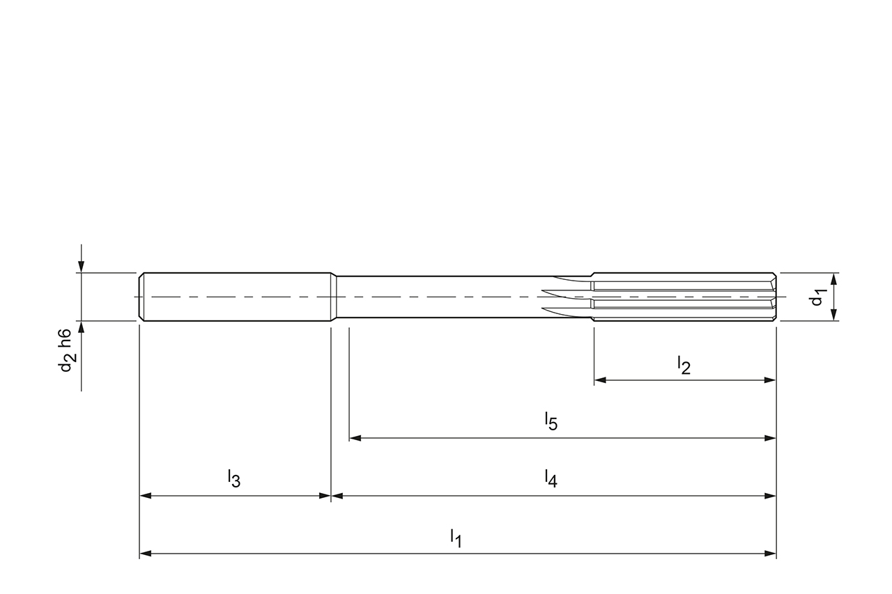
  • Technical drawing NC machine reamer

Diameter d1 (mm)

1.5

Your unit price

*Login required

Article

30719108

Quantity

Added to Your Shopping Cart

Product description

NC machine reamers are a particularly cost-effective option for the production of precise bores. While their performance data is below that of high-performance reamers, these tools are widely used because they are characterized by their quality and ease of use.

Material suitability

Technical specifications

Connection type
Cylindrical shank  
Connection size
3  
Type of bore
Through & blind bore  
d1
1.5   mm
d3
3   mm
l1
50   mm
l2
9   mm
l3
28   mm
l4
0   mm
l5
18   mm
Tolerance
H7  
Cutting material
HU613  
Cooling
external cooling  
Number of cutting edges (z)
3  
Material group
X4
Specification
MDR500-8093-2AØ1.5H7-HU613