NC machine reamer
Diameter d1 (mm)
10.0
Your unit price
*Login requiredArticle
30712868
Quantity
	Added to Your Shopping Cart
Product description
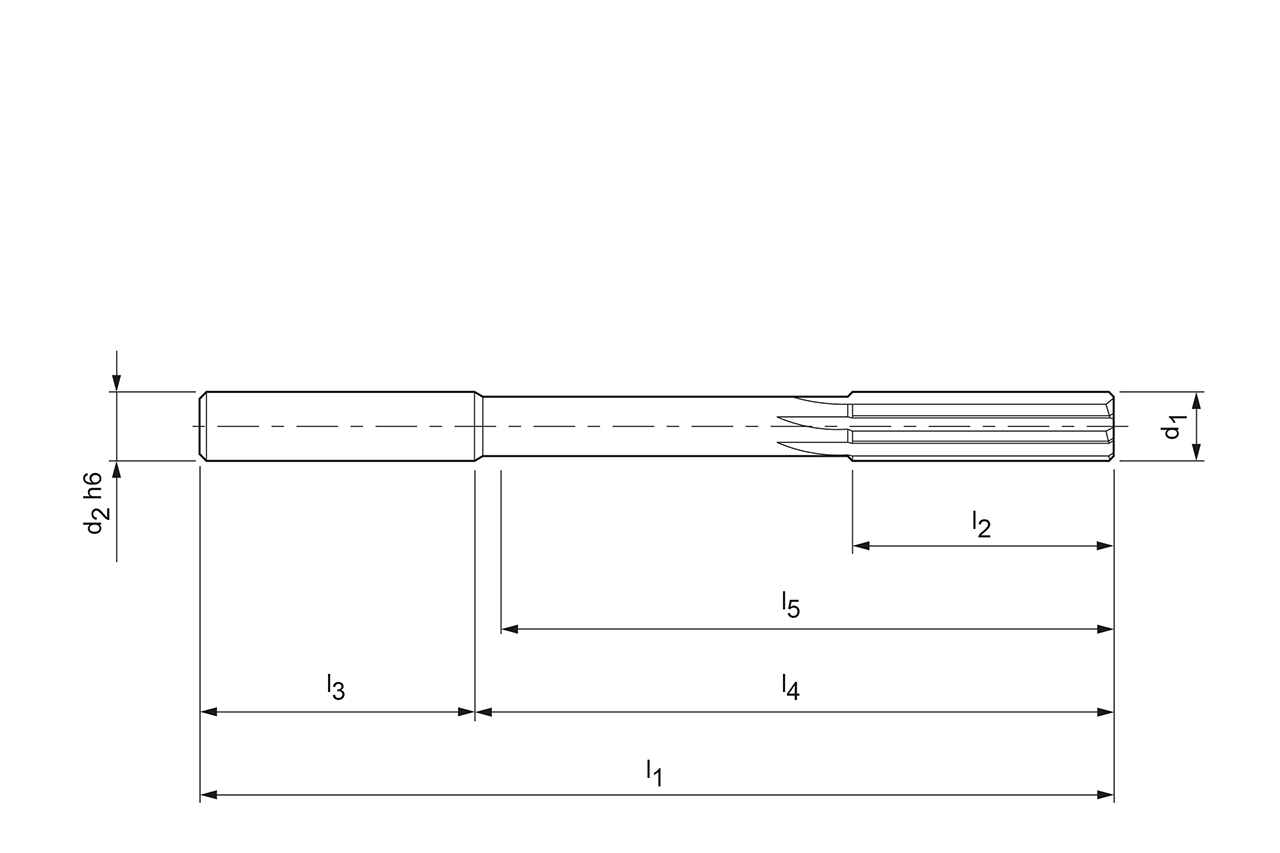
NC machine reamers are a particularly cost-effective option for the production of precise bores. While their performance data is below that of high-performance reamers, these tools are widely used because they are characterized by their quality and ease of use.
Technical specifications
- Connection type
- Cylindrical shank
- Connection size
- 10
- Type of bore
- Through & blind bore
- d1
- 10 mm
- d3
- 10 mm
- l1
- 133 mm
- l2
- 38 mm
- l3
- 40 mm
- l4
- 0 mm
- l5
- 88 mm
- Tolerance
- H7
- Cutting material
- HU613
- Cooling
- external cooling
- Number of cutting edges (z)
- 6
- Material group
- X4
- Specification
- MDR500-8093-2AØ10H7-HU613
 
    