NC machine reamer
Diameter d1 (mm)
6.5
Your unit price
*Login requiredArticle
30712861
Quantity
	Added to Your Shopping Cart
Product description
NC machine reamers are a particularly cost-effective option for the production of precise bores. While their performance data is below that of high-performance reamers, these tools are widely used because they are characterized by their quality and ease of use.
Technical specifications
- Connection type
- Cylindrical shank
- Connection size
- 6
- Type of bore
- Through & blind bore
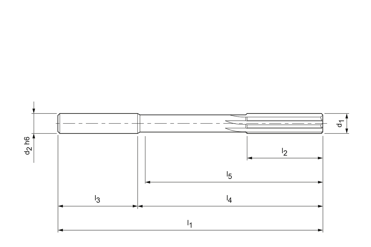
- d1
- 6.5 mm
- d3
- 6 mm
- l1
- 101 mm
- l2
- 28 mm
- l3
- 36 mm
- l4
- 0 mm
- l5
- 61 mm
- Toleranz
- H7
- Schneidstoff
- HU613
- Kühlmittelaustritt
- externe Kühlmittelzufuhr
- Anzahl Schneiden (z)
- 6
- Materialgruppe
- X4
- Spezifikation
- MDR500-8093-2AØ6.5H7-HU613
 
    