FixReam | FXR507
Diameter d1 (mm)
10.01
Your unit price
*Login requiredProduct description
The FXR series of high-performance reamers made of solid carbide cover a wide range of applications. Depending on the diameter, the high-performance FixReam reamers have between four and eight cutting edges with internal cooling and thus achieve correspondingly high feed rates.
Technical specifications
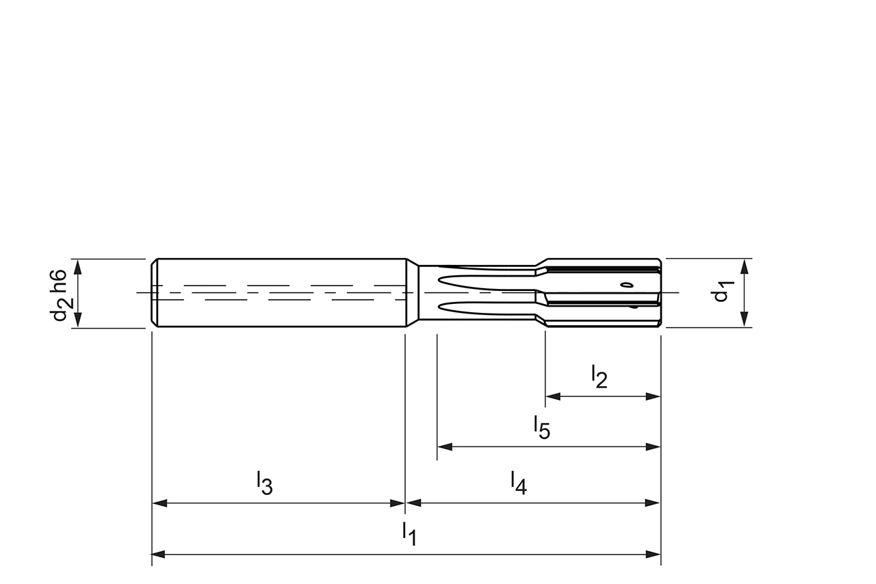
- Connection type
- Cylindrical shank
- Connection size
- 10
- Type of bore
- Through & blind bore
- d1
- 10.01 mm
- d3
- 10 mm
- l1
- 80 mm
- l2
- 20 mm
- l3
- 40 mm
- l4
- 40 mm
- l5
- 37 mm
- Tolerance
- +5
- Cutting material
- HP900
- Cooling
- internal cooling
- Number of cutting edges (z)
- 6
- Material group
- XN
- Specification
- FXR507GØ10.010+5MJ1G-HP900
Downloads
- Technical drawing in dxf
- 31375322_608016509-000-00-ED1.DXF
- Technical drawing in tif
- 31375322_608016509-000-00-ED1.TIF
- 3D envelope in stp
- 31375322_608017832-000-00-E43.STP
- Cutting data recommendations
- 31375322_FixReam5_EN.pdf
 
    