FixReam | FXR507
Diameter d1 (mm)
9.97
Your unit price
*Login requiredProduct description
The FXR series of high-performance reamers made of solid carbide cover a wide range of applications. Depending on the diameter, the high-performance FixReam reamers have between four and eight cutting edges with internal cooling and thus achieve correspondingly high feed rates.
Technical specifications
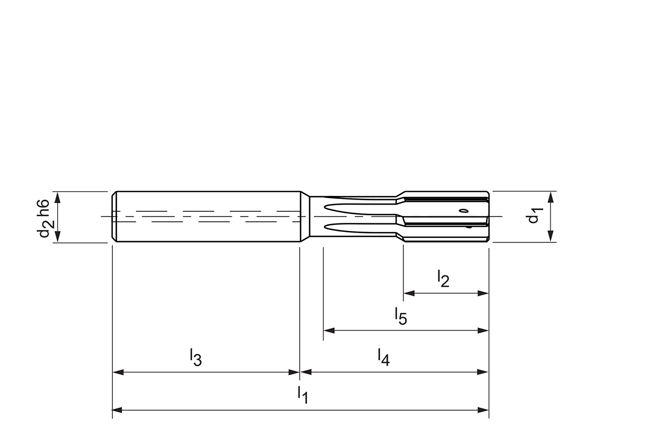
- Trennstelle
- Zylinderschaft
- Trennstellengröße
- 10
- Bohrungsart
- Durchgangs- & Grundbohrung
- d1
- 9.97 mm
- d2
- 10 mm
- l1
- 80 mm
- l2
- 20 mm
- l3
- 40 mm
- l4
- 40 mm
- l5
- 37 mm
- Toleranz
- +5
- Schneidstoff
- HP900
- Kühlmittelaustritt
- innere Kühlmittelzufuhr
- Anzahl Schneiden (z)
- 6
- Materialgruppe
- XN
- Spezifikation
- FXR507GØ9.970+5MJ1G-HP900
Downloads
- Technische Zeichnung in dxf
- 31375314_608016505-000-00-ED1.DXF
- Technische Zeichnung in tif
- 31375314_608016505-000-00-ED1.TIF
- 3D Hüllkontur in stp
- 31375314_608017827-000-00-E43.STP
- Cutting data recommendations
- 31375314_FixReam5_EN.pdf
 
    