FixReam | FXR507
Diameter d1 (mm)
5.0
Your unit price
*Login requiredProduct description
The FXR series of high-performance reamers made of solid carbide cover a wide range of applications. Depending on the diameter, the high-performance FixReam reamers have between four and eight cutting edges with internal cooling and thus achieve correspondingly high feed rates.
Technical specifications
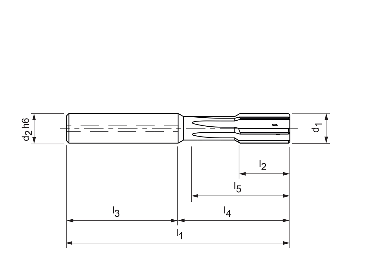
- Trennstelle
- Zylinderschaft
- Trennstellengröße
- 4
- Bohrungsart
- Durchgangs- & Grundbohrung
- d1
- 5 mm
- d2
- 4 mm
- l1
- 50 mm
- l2
- 12 mm
- l3
- 28 mm
- l4
- 22 mm
- l5
- 19 mm
- Toleranz
- H7
- Schneidstoff
- HP900
- Kühlmittelaustritt
- innere Kühlmittelzufuhr
- Anzahl Schneiden (z)
- 4
- Materialgruppe
- XN
- Spezifikation
- FXR507Ø5.0H7MJ1G-HP900
Downloads
- Technische Zeichnung in dxf
- 31375109_608016486-000-00-ED1.DXF
- Technische Zeichnung in tif
- 31375109_608016486-000-00-ED1.TIF
- 3D Hüllkontur in stp
- 31375109_608017808-000-00-E43.STP
- Cutting data recommendations
- 31375109_FixReam5_EN.pdf
 
    