FixReam | FXR510

  • Product image FixReam
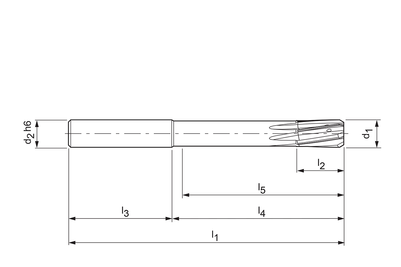
  • Technical drawing FixReam

Diameter d1 (mm)

10.0

Your unit price

*Login required

Article

30584883

Quantity

Added to Your Shopping Cart

Product description

The FXR series of high-performance reamers made of solid carbide cover a wide range of applications. Depending on the diameter, the high-performance FixReam reamers have between four and eight cutting edges with internal cooling and thus achieve correspondingly high feed rates.

Material suitability

Technical specifications

d1
10   mm
l1
120   mm
Cutting material
VHM  
Material group
XN
Specification
FXR510Ø10.000H7MF1M-HP61

Downloads

3D envelope in stp
30584883_607412243-000-00-E43.STP
Cutting data recommendations
30584883_FixReam5_EN.pdf