FixReam | FXR510
Diameter d1 (mm)
8.0
Your unit price
*Login requiredProduct description
The FXR series of high-performance reamers made of solid carbide cover a wide range of applications. Depending on the diameter, the high-performance FixReam reamers have between four and eight cutting edges with internal cooling and thus achieve correspondingly high feed rates.
Technical specifications
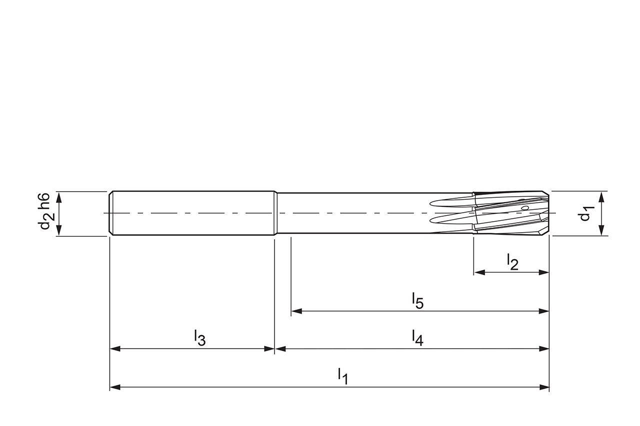
- d1
- 8 mm
- l1
- 100 mm
- Cutting material
- VHM
- Material group
- XN
- Specification
- FXR510Ø8.000H7MF1M-HP613
Downloads
- Cutting data recommendations
- 30584879_FixReam5_EN.pdf
 
    