FixReam | FXR500
Diameter d1 (mm)
5.0
Ihr Stückpreis
*Login requiredProduktbeschreibung
Die Baureihen der Hochleistungsreibahlen FXR aus Vollhartmetall decken einen breiten Anwendungsbereich ab. Je nach Durchmesser haben die Hochleistungsreibahlen FixReam zwischen vier bis acht Schneiden mit Innenkühlung und erreichen dadurch entsprechend hohe Vorschubgeschwindigkeiten.
Technische Daten
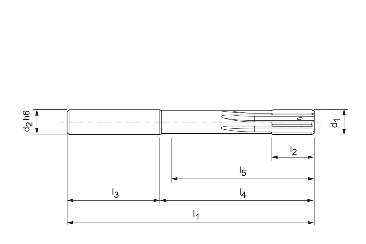
- Connection type
- Cylindrical shank
- Connection size
- 6
- Type of bore
- Trough bore
- d1
- 5 mm
- d3
- 6 mm
- l1
- 75 mm
- l2
- 12 mm
- l3
- 36 mm
- l4
- 39 mm
- l5
- 35 mm
- Tolerance
- H7
- Cutting material
- HP141
- Cooling
- internal cooling
- Number of cutting edges (z)
- 4
- Material group
- XN
- Specification
- FXR500Ø5.000H7MF0A-HP141
Downloads
- 3D envelope in stp
- 30570824_607412276-000-00-E43.STP
- DIN 4000 XML in xml
- 30570824_DIN4000-126-1.XML
- Technical drawing in dxf
- 30570824_607990694-000-00-ED1.DXF
- Technical drawing in tif
- 30570824_607990694-000-00-ED1.TIF
- Schnittwertempfehlung
- 30570824_FixReam5_DE.pdf
 
    