FixReam | FXR510
Diameter d1 (mm)
5.5
Your unit price
*Login requiredProduct description
The FXR series of high-performance reamers made of solid carbide cover a wide range of applications. Depending on the diameter, the high-performance FixReam reamers have between four and eight cutting edges with internal cooling and thus achieve correspondingly high feed rates.
Technical specifications
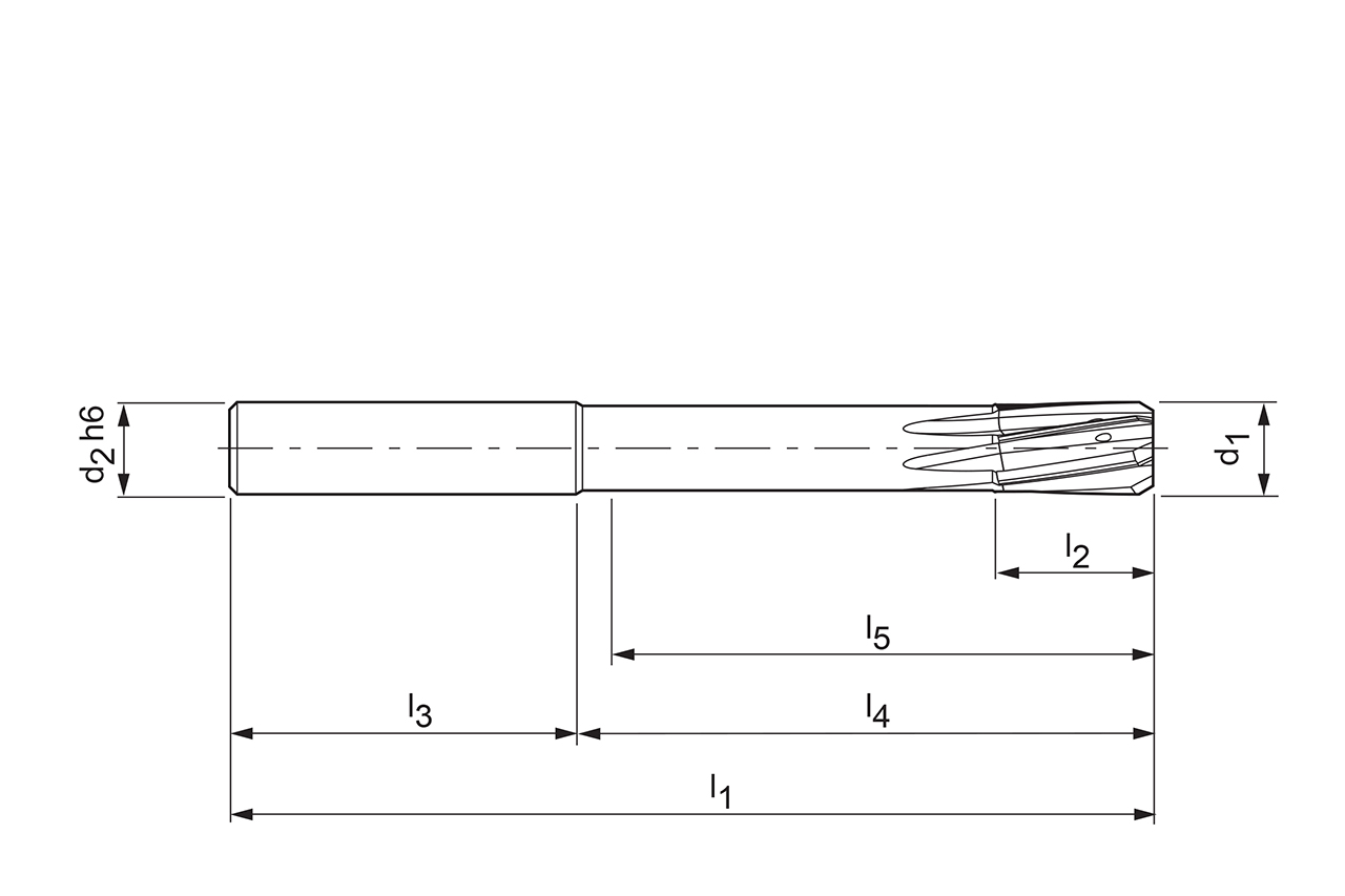
- Connection type
- Cylindrical shank
- Connection size
- 6
- Type of bore
- Through bore
- d1
- 5.5 mm
- d3
- 6 mm
- l1
- 75 mm
- l2
- 12 mm
- l3
- 36 mm
- l4
- 39 mm
- l5
- 35 mm
- Tolerance
- H7
- Cutting material
- HP145
- Cooling
- internal cooling
- Number of cutting edges (z)
- 4
- Material group
- XN
- Specification
- FXR510Ø5.500H7MG1M-HP145
Downloads
- Technical drawing in pdf
- 30570725_607444618-000-00-ED1.PDF
- Technical drawing in dxf
- 30570725_607444618-000-00-ED1.DXF
- Technical drawing in tif
- 30570725_607444618-000-00-ED1.TIF
- 3D envelope in stp
- 30570725_607443825-000-00-E43.STP
- Cutting data recommendations
- 30570725_FixReam5_EN.pdf
 
    