FixReam | FXR510
Diameter d1 (mm)
14.0
Your unit price
*Login requiredProduct description
The FXR series of high-performance reamers made of solid carbide cover a wide range of applications. Depending on the diameter, the high-performance FixReam reamers have between four and eight cutting edges with internal cooling and thus achieve correspondingly high feed rates.
Technical specifications
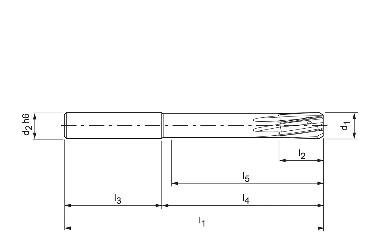
- Connection type
- Cylindrical shank
- Connection size
- 0140
- Type of bore
- Through bore
- d1
- 14 mm
- d3
- 14 mm
- l1
- 130 mm
- l2
- 22 mm
- l3
- 45 mm
- l4
- 85 mm
- l5
- 80 mm
- Tolerance
- H7
- Cutting material
- HU612
- Cooling
- internal cooling
- Number of cutting edges (z)
- 6
- Material group
- XN
- Specification
- FXR510Ø14.000H7MG1M-HU612
Downloads
- 3D envelope in stp
- 30570684_607412193-000-00-E43.STP
- DIN 4000 XML in xml
- 30570684_DIN4000-126-1.XML
- Technical drawing in dxf
- 30570684_607990717-000-00-ED1.DXF
- Technical drawing in tif
- 30570684_607990717-000-00-ED1.TIF
- Cutting data recommendations
- 30570684_FixReam5_EN.pdf
 
    