FixReam | FXR510

  • Product image FixReam
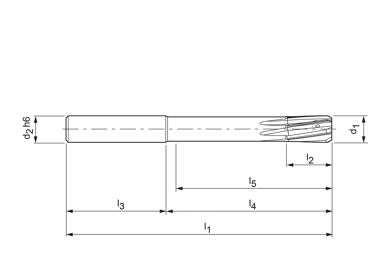
  • Technical drawing FixReam

Diameter d1 (mm)

13.0

Your unit price

*Login required

Article

30570683

Quantity

Added to Your Shopping Cart

Product description

The FXR series of high-performance reamers made of solid carbide cover a wide range of applications. Depending on the diameter, the high-performance FixReam reamers have between four and eight cutting edges with internal cooling and thus achieve correspondingly high feed rates.

Material suitability

Technical specifications

Trennstelle
Zylinderschaft  
Trennstellengröße
0140  
Bohrungsart
Durchgangsbohrung  
d1
13   mm
d2
14   mm
l1
130   mm
l2
22   mm
l3
45   mm
l4
85   mm
l5
80   mm
Toleranz
H7  
Schneidstoff
HU612  
Kühlmittelaustritt
innere Kühlmittelzufuhr  
Anzahl Schneiden (z)
6  
Materialgruppe
XN
Spezifikation
FXR510Ø13.000H7MG1M-HU612

Downloads

3D Hüllkontur in stp
30570683_607412192-000-00-E43.STP
DIN 4000 XML in xml
30570683_DIN4000-126-1.XML
Technische Zeichnung in dxf
30570683_607990716-000-00-ED1.DXF
Technische Zeichnung in tif
30570683_607990716-000-00-ED1.TIF
Cutting data recommendations
30570683_FixReam5_EN.pdf