ThermoChuck MTC, Standard MMS 1-Kanal

  • Produktbild Thermo Chuck MTC, Standard MMS 1-Kanal
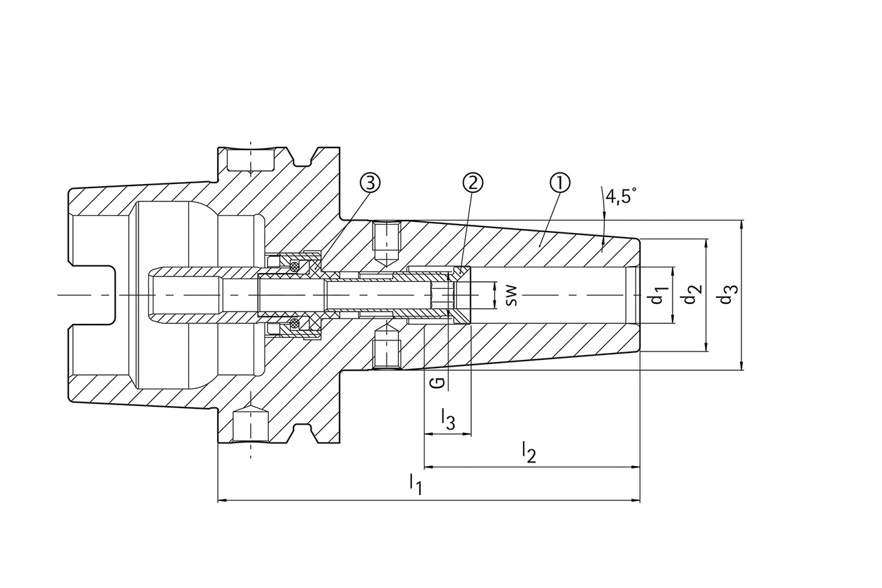
  • Produktzeichnung Thermo Chuck MTC, Standard MMS 1-Kanal

Diameter d1 (mm)

12.0

Your unit price

*Login required

Article

30480212

Quantity

Added to Your Shopping Cart

Product description

Mit dem ThermoChuck können Werkzeuge für fast alle Zerspanungsaufgaben passgenau gespannt werden. Die Verwendung von hochwarmfestem Werkzeugstahl garantieren eine maximale Lebensdauer. Die MMS-Technologie bietet eine ressourcen- und umweltschonende Alternative zum energieintensiven Einsatz von Kühlschmierstoffen. Beim 1-Kanalsystem wird das Aerosol außerhalb der Spindel vorgemischt und durch die Werkzeugaufnahme geführt.

Technical specifications

Machine connection
HSK-A  
Size machine connection
100  
Technology
ThermoChuck  
d1
12   mm
d2
24   mm
d3
32   mm
l1
200   mm
l2
45   mm
l3
10   mm
Coolant supply
MQL 1-Channel  
Coolant outlet
axial concentric  
Length adjustment
axial  
Material group
CT
Specification
MTC-HSK-A100-12-200-A-0-A-AAA

Downloads

Technical drawing in tif
30480212_606203409-000-00-ED1.TIF
Technical drawing in dxf
30480212_606203409-000-00-ED1.DXF
3D envelope in stp
30480212_608059882-000-00-E43.STP