ThermoChuck MTC, Standard MMS 1-Kanal
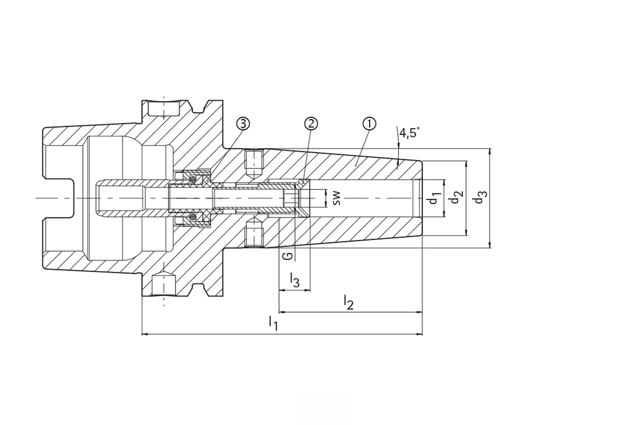
Diameter d1 (mm)
8.0
Your unit price
*Login requiredProduct description
Mit dem ThermoChuck können Werkzeuge für fast alle Zerspanungsaufgaben passgenau gespannt werden. Die Verwendung von hochwarmfestem Werkzeugstahl garantieren eine maximale Lebensdauer. Die MMS-Technologie bietet eine ressourcen- und umweltschonende Alternative zum energieintensiven Einsatz von Kühlschmierstoffen. Beim 1-Kanalsystem wird das Aerosol außerhalb der Spindel vorgemischt und durch die Werkzeugaufnahme geführt.
Technical specifications
- Machine connection
- HSK-A
- Size machine connection
- 63
- Technology
- ThermoChuck
- d1
- 8 mm
- d2
- 21 mm
- d3
- 27 mm
- l1
- 120 mm
- l2
- 36 mm
- l3
- 10 mm
- Coolant supply
- MQL 1-Channel
- Coolant outlet
- axial concentric
- Length adjustment
- axial
- Material group
- CT
- Specification
- MTC-HSK-A063-08-120-A-0-A-AAA
Downloads
- Technical drawing in tif
- 30385485_606203349-000-00-ED1.TIF
- Technical drawing in dxf
- 30385485_606203349-000-00-ED1.DXF
- 3D envelope in stp
- 30385485_606897348-000-00-E43.STP